Apple's work on circular screens could lead to round-face Apple Watch

Apple Insider

The Apple Watch device family could potentially include a round-faced variant in the future, following the discovery that Apple has worked on a way to produce displays for devices with curved edges, an element crucial to the creation of such a circular-shaped wearable device.

Granted and published by the U.S. Patent and Trademark Office on Tuesday, Apple's patent for "Electronic device having display with curved edges" describes how to construct a display that differs from the usual rectangular shape typically used in mobile device screens.

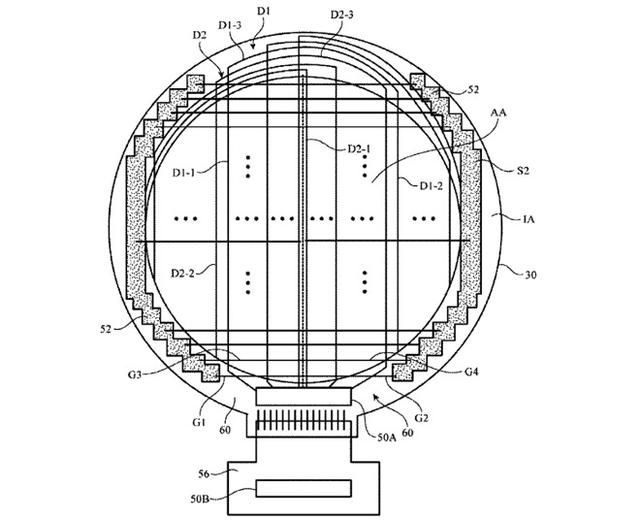
In the explanation, the patent advises of the reduced pixel count and the irregular rows and columns that make up a round display compared to the uniform pixel arrays in rectangular screens. Folded vertical lines for pixel data could be split across two halves of a round screen, with bisected horizontal gate lines working in a similar manner, for a more efficient display.

As there would be a number of unused array sections on the edges, Apple suggests using curved coupling segments in these inactive areas to join the segments together. By doing this, Apple suggests this could help limit the number of "bottleneck regions" in a display where "signal lines become crowded, leading to inefficient use of [the] display area."

Originally filed on January 7, 2016, the patent is credited to Yu Cheng Chen, Tsung-Ting Tsai, and Shih Chang Ghang.

The patent largely talks about how the technology could work, but does briefly suggest this could be used in a watch-like design. One image also shows an example of the viewing area of a circular-faced watch, hinting at its potential application, but without offering any fully-developed designs for a round Apple Watch at all.

The description of the patent also notes the technology could be used in other smaller devices than a watch, including a "pendant device" and headphones. Considering Apple's previous rumored work on VR and AR headsets, as well as smartglasses, the patent also suggests its application for "a device embedded in eyeglasses or other equipment worn on a user's head."

Apple regularly applies for patents, filing ideas with the USPTO tens or hundreds of times a week, and in many cases the company doesn't commercialize the concept, even if it is granted. As a result, there is no guarantee the applied patents will make an appearance in a future Apple product.

There has been little speculation as to what to expect from the next generation of Apple Watch, but the main predictions from KGI analyst Ming-Chi Kuo point to a 15-percent larger display, extended battery life, and enhancements to its built-in health sensors, not a major design change.

Round-faced smartwatches are also not a new concept either, with some Android Wear devices, rebranded as WearOS, using circular OLED screens. The existence of competitors equipped with circular screens makes an Apple Watch sporting a similar design a possibility, but there have not yet been any rumors or reports hinting that such a device is on the way.

0
0
おすすめ