Apple quiere hacer que sus gafas de realidad aumentada sean perfectas

Soy de Mac

Apple está muy centrada en la realidad aumentada, de eso no cabe duda. Lo hemos visto con varias noticias relacionadas con esta tecnología pero sobre todo lo sabemos por las patentes que está incluyendo y registrando Apple. La «penúltima» de la que hemos tenido conocimiento, versa sobre la capacidad de que las gafas de realidad virtual que quieren crear sean más que buenas. Sean perfectas.

Cuando utilizamos la realidad virtual en el iPhone o en el iPad, el poder mover los objetos que hemos «insertado» se realiza con el propio movimiento de los dispositivos y la tecnología lo tiene fácil para detectar esos desplazamientos hacia arriba/abajo o bien hacia los lados. Lo mismo pasa con las gafas y el movimiento de la cabeza. Pero ¿qué pasa cuando la cabeza se encuentra quieta y lo que se mueven son los ojos?.

En una nueva patente registrada por Apple se habla de esta problemática y se aportan algunas soluciones. «Método y dispositivo para el seguimiento ocular utilizando datos de cámaras de eventos», así se ha nombrado a la patente recientemente registrada y solicitada. En ella se describe el hecho de que se necesita esta función, pero también los problemas que trae.

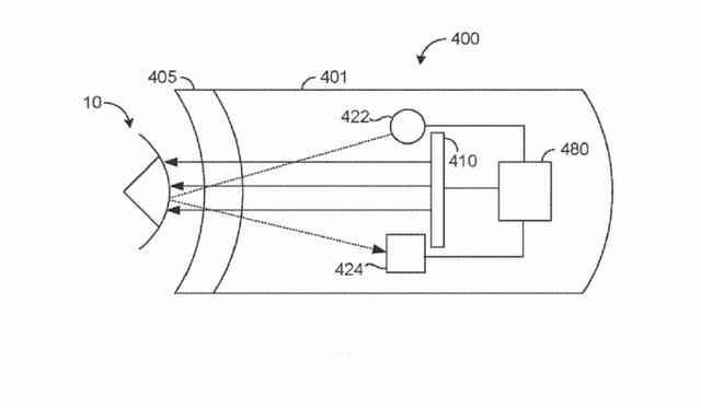
El sistema de seguimiento ocular a menudo incluye una cámara que transmite imágenes del ojos del usuario a un procesador que realiza seguimiento. Ahora bien la transmisión de las imágenes a una frecuencia de cuadro suficiente para permitir el seguimiento ocular, requiere de un enlace de comunicación con un ancho de banda grande. El uso de dicho enlace de comunicación aumenta la generación de calor y el consumo de energía del dispositivo montado en la cabeza.

La solución propuesta por Apple es reducir el procesamiento necesario para rastrear la mirada de un usuario y, para hacerlo, cambiar lo que se rastrea exactamente. Una posible solución es emitir luz con intensidad moduladora desde una pluralidad de fuentes de luz hacia el ojo de un usuario:

El método incluye recibir datos de una intensidad de la luz emitida reflejada por el ojo del usuario en forma de una pluralidad de destellos. El método incluye determinar una característica de seguimiento ocular del usuario en función de los datos de intensidad de la luz.

Como siempre decimos, puede que estas ideas se queden en eso, en sólo ideas porque las patentes no siempre se convierten en realidad.

0
0
おすすめ